반응형
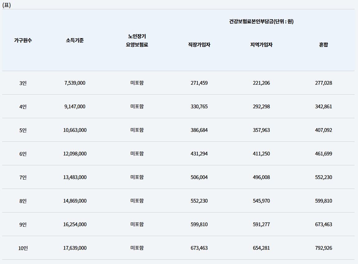
경기도 아빠 육아휴직 장려금 신청자격으로 '기준중위소득 150% 이하'이어야 한다는 항목이 있습니다.
기준중위소득 150%는 아래 건강보험료 판정표의 '건강보험료 본인부담금' 금액으로 판정합니다.

반응형
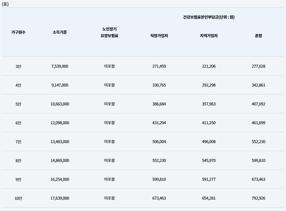
경기도 아빠 육아휴직 장려금 신청자격으로 '기준중위소득 150% 이하'이어야 한다는 항목이 있습니다.
기준중위소득 150%는 아래 건강보험료 판정표의 '건강보험료 본인부담금' 금액으로 판정합니다.
